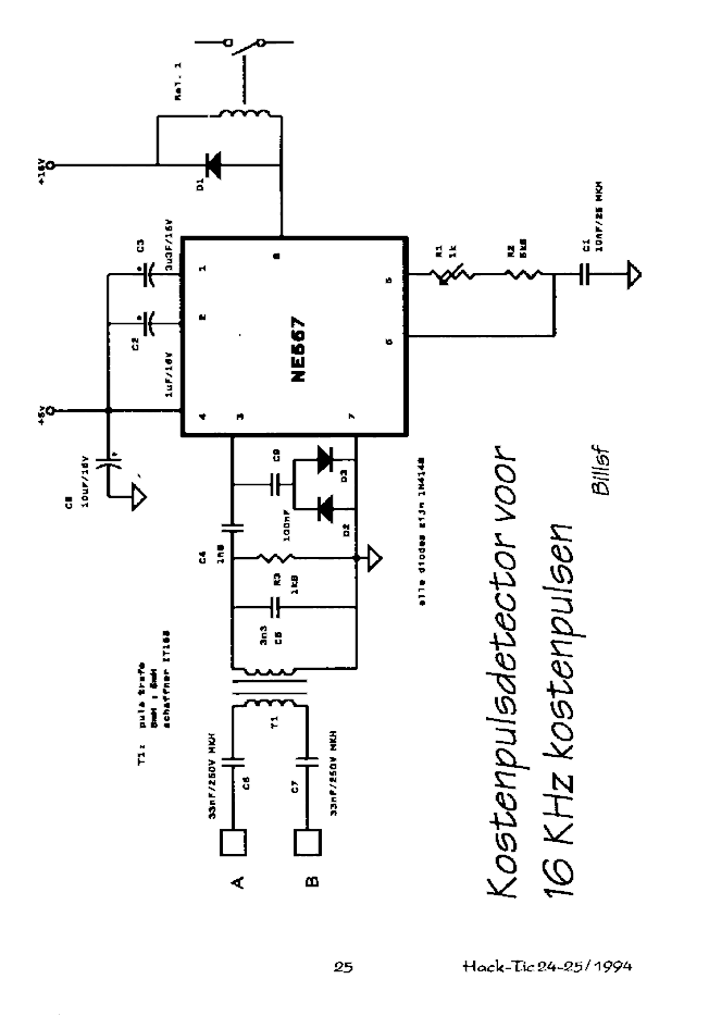
Hack-Tic 24/25